川南在线 发布时间:2021-06-26
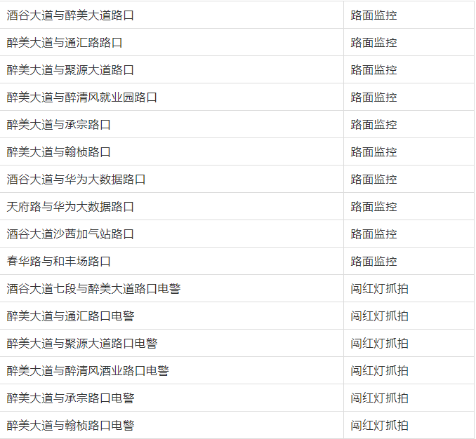
为加强我市道路交通管理,进一步规范车辆通行秩序,最大限度地预防和减少道路交通事故,保障人民生命财产安全,泸州市将新增40处电子监控点位。从7月1日开始,以下监控点位将对闯红灯、占用公交车道、超速等违法行为进行抓拍。同时对道路交通事故、车流进行监控。
江阳区

龙马潭区

纳溪区

交警提醒:在安全面前,任何的侥幸心理都是“隐形炸弹”。想要彻底“清除”,需要每一个驾驶员文明行车,自觉遵守交通安全法律法规。(来源:酒城交警)
编辑:肖昂
关注川南在线网微信公众号
长按或扫描二维码 ,获取更多最新资讯
其他